
深圳赋能艺术品有限公司在2020年6-8月间,通过代理共提交商标注册申请381件。不久前,这些申请全部被商标局驳回。
商标的核心功能在于帮助消费者识别商品或服务来源,促使生产、经营者保证商品或服务质量,是企业商誉的集中体现。然而一些申请人,大量囤积商标,违背了商标使用的初衷。
深圳赋能艺术品有限公司在2020年6-8月间,通过代理共提交商标注册申请381件。不久前,这些申请全部被商标局驳回。
为了进一步了解、核实情况,中国市场监管报记者登录中国商标网,申请人一栏输入“深圳赋能艺术品有限公司”字样,点击第46941749号“奥萃”商标,随即打开的页面显示该商标申请日期为2020年6月4日,使用商品为第14类;商标流程页面显示该商标注册申请于2021年2月10日被驳回。


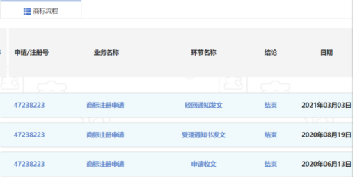
点击第47238223号“ZEM”商标,随即打开的页面显示该商标申请日期为2020年6月13日,使用商品为第21类;商标流程页面显示该商标注册申请于2021年3月3日被驳回。


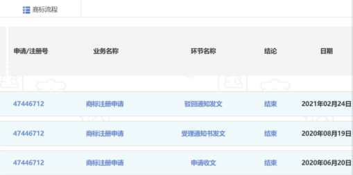
点击第47446712号“汉续”商标,随即打开的页面显示该商标申请日期为2020年6月20日,使用商品为第16类;商标流程页面显示该商标注册申请于2021年2月24日被驳回。


点击第47713818号“英阁”商标,随即打开的页面显示该商标申请日期为2020年7月1日,使用商品为第6类;商标流程页面显示该商标注册申请于2021年2月10日被驳回。


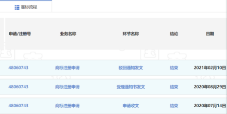
点击第48060743号“GOK”商标,随即打开的页面显示该商标申请日期为2020年7月14日,使用商品为第27类;商标流程页面显示该商标注册申请于2021年2月10日被驳回。


点击第49038158号“得豹”商标,随即打开的页面显示该商标申请日期为2020年8月19日,使用商品为第7类;商标流程页面显示该商标注册申请于2021年2月10日被驳回。


据了解,深圳赋能艺术品有限公司2020年6月至8月期间累计申请381件商标注册,因没有提供使用证据和使用意图,明显超出正常经营活动需要,属于《商标法》第四条第一款所规定的不以使用为目的的恶意商标注册申请的行为,故被国家知识产权局商标局予以驳回。
专家指出,我国《商标法》第三十二条规定,申请商标注册不得损害他人现有的在先权利,也不得以不正当手段抢先注册他人已经使用并有一定影响的商标。好的商标设计具有一定的广告效应,也属于一种商业表达自由,但需要以不损害他人权益和公共利益为前提。
*以上内容如有侵权, 请联系我们删除哦~